项目概述
音视频 AI 管理平台是一款面向安防监控、智能交通、智慧城市等多场景的专业级音视频管理系统。平台全面兼容 GB/T28181-2016 与 GB/T28181-2022 双版本协议,实现了设备接入、信令控制、媒体传输到用户播放的端到端闭环管理。
平台深度适配海康、大华、宇视、水星等主流品牌的 IPC/NVR/ONVIF 物联网设备,能够充分利旧现有硬件资源,为安防监控、智能交通、教育医疗、能源工业等领域提供从实时预览、录像回放到智能分析的全流程服务,是构建国标视频平台的完整解决方案。
项目优势
国标兼容,无缝对接 深度支持 GB/T28181 协议双版本,可高效实现多视频监控系统间的网络连接与资源共享,轻松对接各地政务、安防等平台的国标级联需求,解决跨系统兼容难题。
双服务架构,稳定高效 采用 SESSION 信令服务与 STREAM 流媒体服务的双服务架构,模块间通过标准协议通信,实现设备注册、流调度、媒体处理等环节的高效协同,保障系统在高并发场景下的稳定运行。
生态互通,便捷集成 支持与飞书、企业微信、钉钉等主流办公平台打通,实现告警信息、设备状态的实时推送,助力企业构建一体化的智能管理生态。
核心功能介绍
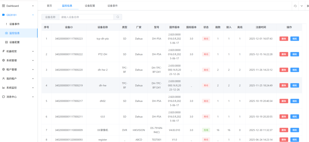
国标设备全生命周期管理:设备完成国标注册后,平台自动展示设备详情,支持设备通道查看、视频便捷点播,同时提供设备接入、离线、注册时间等状态监控,支持设备信息编辑与批量管理。
云端录像与灵活回放:用户可随时查看或下载国标设备存储的云端录像,支持历史视频拖动播放、倍数播放,同时可基于 GB/T28181 标准配置录像计划,实现智能化存储管理,结合 Redis 缓存优化录像查询效率。
推流拉流一体化管控:平台清晰呈现推流、拉流设备通道信息,支持一键播放视频与国标通道快速配置,满足不同场景下的视频流分发需求。
多维度分级管理:提供行政分组、通道管理、节点管理功能,通过分层分级设计实现设备、用户及权限的精细化管理,实时查看 ZLMediaKit 节点的状态、负载及资源分配详情。
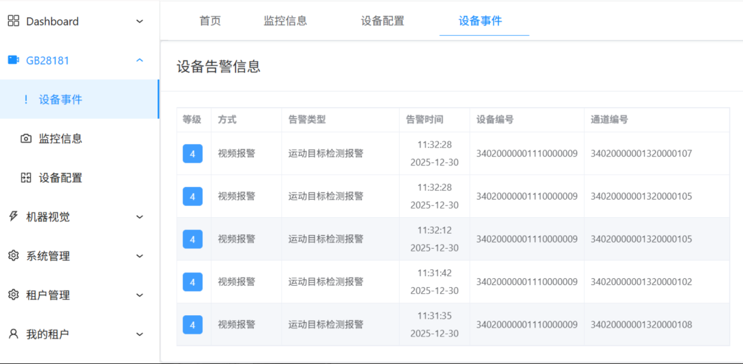
智能告警与事件推送:支持运动目标检测等视频报警功能,告警信息实时推送至消息中心,包含告警等级、类型、时间、设备编号等关键信息,助力用户快速响应异常事件。
租户与权限精细化管控:内置租户管理模块,涵盖用户管理、角色管理、部门管理及系统监控功能,满足企业级多租户部署的权限隔离需求。
UI 展示
监控信息



设备配置




设备事件

监控信息


